Często zdarza się, że podczas gry gdzieś utkniemy lub nie wiemy, co zrobić dalej. Sony chce rozwiązać ten problem przy pomocy swojego patentu na asystenta AI.
Patent Sony na asystenta do gier

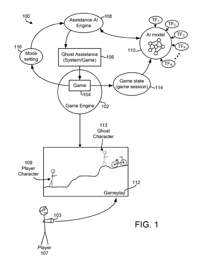
Sony opatentowało pomysł, dzięki któremu gracze nie będą musieli głowić się, co dalej zrobić, ani szukać informacji w internecie. Według ich pomysłu do wyboru będziemy mieli dwie formy pomocy. Guide Mode pozwoli na przyzwanie ducha postaci, który będzie nas kierował i przykładowo pokazywał, jak pokonać konkretną przeszkodę.
Drugą opcją ma być Complete Mode, gdzie AI przejmie kontrolę nad postacią gracza, tym samym wykonując działania za niego. Można pokusić się o stwierdzenie, że gry przechodziłyby się same. Sztuczna inteligencja miałaby być trenowana na mnóstwie filmików z internetu przedstawiające gameplay.
Pomysł Sony spotkał się z mieszanym odbiorem. Jedni są zaciekawieni ciekawym rozwiązaniem i jego działaniem, inni uważają, że całkowicie zniszczy to doświadczenia płynące z rozgrywki i zamiast wytężyć umysł, gracze będą bezmyślnie korzystali z pomocy. Pytań dotyczących tej technologii jest wiele, jednak na razie to tylko patent. Sony słynie z tego, że często i tak z nich nie korzystają.
Miałoby to mimo wszystko sens patrząc na to, że na PlayStation już możemy skorzystać z Game Help, które jest mniej zaawansowane, jednak stanowi pewien krok w tę stronę.
- Sprawdź aktualne ceny Astro Bot w Media Expert NASZ WYBÓR
- Sprawdź aktualne ceny Astro Bot w RTV EURO AGD
- Sprawdź aktualne ceny Astro Bot w Media Markt
- Sprawdź aktualne ceny Astro Bot na Allegro
A co Wy sądzicie o takim rozwiązaniu? Dajcie znać w komentarzach!
Źródło: Push Square, VGC








Dyskusja na temat wpisu
Prosimy o zachowanie kultury wypowiedzi. Mimo że pozwalamy na komentowanie osobom bez konta na platformie Disqus, to i tak zalecamy jego założenie, bo wpisy gości często trafiają do spamu.