Wygląda na to, że użycie sztucznej inteligencji w branży gier przybiera na sile. Technologia ta nie tylko wspomaga rozwój wszelakich ulepszeń graficznych, ale może także być pomocna w przechodzeniu samych gier. To drugie zastosowanie zostało dostrzezone przez Sony, które to zaprezentowalo odpowiedni patent w tej kwestii.
AI w służbie niedzielnych graczy

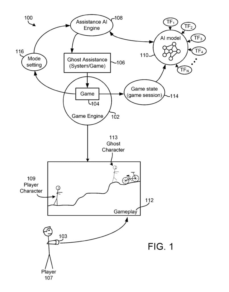
Patent na technologię wspomagająca przechodzenie gier został złożony przez Sony już we wrzesniu 2024 roku, jednakże to właśnie teraz światło dzienne ujrzały szczegóły tego rozwiązania. Gracze mający problem z przejściem danego segmentu gry mogliby skorzystać z dwóch rozwiązań. Pierwsze za pomocą ducha lub cienia postaci kierowanej przez gracza, pokazywałoby jak przejść dany fragment, po czym gracze powtarzaliby te same ruchy, a drugie w całości przechodziłoby problematyczny segment.
Powyższa technologia byłaby dodatkowym ułatwieniem dla takm zwanych niedzielnych graczy, którzy nie zawsze są zaznajomieni z mechanikami gier wideo, lub grają jedynie w celu poznania fabuły danej produkcji. Oczywiście nie wiadomo na pewno, czy takowe rozwiązanie wejdzie w życie, ponieważ fakt złożenia patentu o niczym nie świadczy. Trzeba jednak przyznać, że sam pomysł jest ciekawy i mógłby sprawić, że gry wideo dotarrłyby do jeszcze szerszego grona odbiorców.
- Sprawdź aktualne ceny Ghost Of Yotei w Media Expert NASZ WYBÓR
- Sprawdź aktualne ceny Ghost Of Yotei w RTV EURO AGD
- Sprawdź aktualne ceny Ghost Of Yotei w Media Markt
- Sprawdź aktualne ceny Ghost Of Yotei na Allegro
Jak postrzegacie patent złożony przez Sony? Dajcie znać w komentarzach.
Źródło: VGC








Dyskusja na temat wpisu
Prosimy o zachowanie kultury wypowiedzi. Mimo że pozwalamy na komentowanie osobom bez konta na platformie Disqus, to i tak zalecamy jego założenie, bo wpisy gości często trafiają do spamu.